blog

In-depth Explanation of GY-9960-3.3 APDS-9960 RGB and Gesture Sensor

GY-9960-3.3 APDS-9960 RGB and Gesture Sensor Cover

This smart little component that can “read” your hand waves is none other than the APDS-9960 gesture sensor ! As an all-in-one “multitasker” integrating proximity detection, ambient light sensing, and gesture recognition, it not only accurately captures up/down/left/right hand motion trajectories but also wins the hearts of makers with its affordable APDS-9960 price. Ready to unlock its magic? Let’s dive in together!

What is GY-9960-3.3 APDS-9960 Gesture and RGB Sensor?

RGB and gesture sensor GY-9960-3.3 APDS-9960, a small adapter board with a built-in APDS-9960 sensor, providing APDS-9960 ambient light, color detection, proximity detection and non-contact gesture measurement. With this APDS-9960 RGB and Gesture Sensor, you can control computers, microcontrollers, robots, etc. with just a gentle wave of your hand!

The APDS-9960 hardware integrates UV and IR blocking filters, four independent diodes sensitive to different directions, and an I2C compatible interface. Each APDS-9960 has a detection range of 4~8 inches (10 ~ 20 cm).

RGB and Gesture Sensor APDS-9960 Working Principle

The APDS-9960 sensor is a highly integrated sensor module with proximity sensing, ambient light detection, RGB color sensing, and gesture recognition functions. The sensor transmits and receives signals through integrated optical components, and determines whether an object is approaching based on the intensity or change of the received signals.

The APDS-9960 has a built-in infrared LED for emitting light and features four independent detection channels: proximity detection, red light, green light, and blue light. It judges whether an object is approaching by measuring the intensity of the reflected light. The proximity detection channel is highly sensitive to the reflection of infrared light, thus being able to detect tiny movements of human hands or objects.

  • APDS-9960 Schematic Diagram
APDS-9960 Schematic Diagram
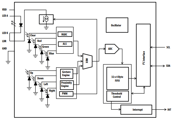
  • APDS-9960 Functional Block Diagram

APDS-9960 Functional Block Diagram

Sensor APDS-9960 RGB Sensing Mechanism

The APDS-9960 sensor has a built-in RGB sensing function, featuring a micro optical filter that can accurately filter out the intensities of red, green, and blue light. The data processing unit of the sensor converts these data into color information, which is output as RGB values. Through these RGB values, the microcontroller can interpret the corresponding color information and make corresponding logical judgments and actions.

Sensor APDS-9960 Gesture Sensing Mechanism

Gesture recognition technology parses the intent of the user’s hand movements by analyzing images or signals captured by the device. It is generally divided into two categories: vision-based methods and sensor-based methods. Vision-based gesture recognition relies on hand images captured by cameras to identify gestures through image processing technology, while sensor-based methods use various sensors to detect hand movements, usually including inertial sensors such as accelerometers and gyroscopes, or optical sensors like the APDS-9960.

The APDS-9960 sensor module adopts an optical method for gesture recognition. It emits infrared light and captures changes in the intensity of reflected light to perceive gesture movements. When the user’s hand approaches the sensor, the sensor detects changes in light intensity caused by the hand blocking the light, thereby inferring the direction and movement of the gesture.

RGB and Gesture Sensor APDS-9960 Parameter

Power supply 2.4V~3.6V (recommended 3.3V)
Communication mode IIC communication protocol
Dimensions 20.0 * 15.3 mm

RGB and Gesture Sensor APDS-9960 Pin Definition

GY-9960-3.3 APDS-9960 RGB and Gesture Sensor Pinout
Pin Pin Function
INT Interrupt output
SCL I2C clock port
SDA I2C data port
VCC Power supply positive pole, 2.4V~3.6V (recommended 3.3V)
GND Grounding
VL External IR LED power supply: 3.0V~4.5V

APDS-9930 vs APDS-9960

ModelAPDS-9930APDS-9960
TypeProximity and Ambient Light SensorProximity, Ambient Light, RGB Color and Gesture Sensor
Gesture RecognitionNoYes (Up/Down/Left/Right swipe detection)
RGB Color SensingNoYes
Ambient Light SensingYesYes
Proximity SensingYesYes
IR LED DriverBuilt-inBuilt-in
I²C InterfaceYesYes

APDS-9960 Application

1. Gesture Recognition Control

① Contactless gesture switch control for smart devices (such as speakers, lamps)

② Gesture-based volume adjustment or switch to the next song in vehicle environments

③ Gesture interaction with smart home appliances

2. Proximity Sensing

① Automatic activation of bathroom equipment (such as smart toilet seats, faucets) when a human approaches

② Smart shelves/display cabinets (detecting customers’ approach and triggering prompts or lights)

3. Motion and Direction Detection

① Simple remote controls, channel switching or volume adjustment via gesture sliding

② Game controllers, controlling the movement or actions of game characters via gesture waving

③ Human-machine interaction devices (such as smart display stands, digital signage), realizing page turning, selection through user gestures

④ Obstacle avoidance or direction sensing assistance for robots

Relative Information

Purchase Link

FAQ

How does the APDS-9960 sensor detect gestures?

The APDS-9960 sensor detects gestures through built-in array of four directional infrared photodiodes and a gesture recognition engine. Its working principle is roughly as follows:

① When you wave your hand in different directions above the sensor, infrared light will be reflected.

② The sensor judges the gesture direction based on the changes in the intensity of reflected light received from different directions.

③ The internal gesture state machine converts these signals into up/down/left/right gesture events.

How to solve the frequent failure of APDS-9960 gesture recognition?

Gesture recognition failure is a common issue. Possible causes and solutions include:

① Excessively strong ambient light (such as direct sunlight or lamp light). The APDS-9960 gesture module relies on infrared reflection, and strong light will cause interference.

② Incorrect gesture path. The hand must wave vertically and slowly from directly above the sensor.

③ Inappropriate distance. Recognition will fail if the distance is too far or too close.

④ I²C communication issues. Check if the wiring is correct and if the address is accurate.

Can the APDS-9960 detect gestures, colors, and ambient light simultaneously?

Yes, but with certain limitations.

Leave a Reply

Your email address will not be published. Required fields are marked *